LX4 ready to drive 10-Gigabit Ethernet market
Design innovations make LX4 transceivers cost-effective as well as efficient for 300-m reach over legacy 62.5-micron multimode networks.
Deyu Zhou, Ph.D.
Opnext Inc.
As Internet usage becomes ubiquitous and Internet access becomes a commodity, the demand to provide Internet services over high-speed Ethernet enterprise backbones has become insatiable. This trend can be seen in the steady migration of the LAN from 100 Mbits/sec (100Base-TX) to 1000 Mbits/sec (1000Base-TX) or Gigabit Ethernet (GbE). High-speed traffic aggregation from an ever-increasing number of network terminals -- such as computers, switches, and routers inside enterprise networks and data centers -- places tremendous demands on enterprise backbone fiber-optic cabling systems.
In a typical enterprise network or data center, the majority of these optical cabling systems include legacy 62.5-micron multimode fiber (MMF) designed and installed to support low-speed FDDI optical networks. Many enterprises are reluctant to pull new fibers such as singlemode and laser-optimized 50-micron MMF, as there are significant savings in using the existing intra-building legacy fibers.
The IEEE 802.3ae 10-Gigabit Ethernet (10GbE) standard has defined a physical media dependent (PMD) option -- 10GBase-LX4 -- to address the requirements of legacy 62.5-micron networks. LX4 is the only proven technology that supports 10GbE traffic over 300 m of legacy fibers. While it has been challenging for optical suppliers to provide cost-effective products capable of meeting market price demands, new technology advances enable transceivers based on this PMD to meet both the technical and economic requirements of network designers.
LX4 basics
The LX4 transceiver is a four-channel coarse WDM (CWDM) device that supports 10-Gbit/sec Ethernet traffic over 300 m via legacy 62.5-micron MMF, as well as singlemode and 50-micron MMF. The four-channel CWDM operates within the 1300-nm fiber transmission window with spectral spacing of 24.5 nm. Each channel transmits at 3.125 Gbits/sec.
In application, four laser diodes with wavelengths centered at 1275.7 nm, 1300.2 nm, 1324.7 nm, and 1349.2nm, respectively, are coupled into an optical multiplexer where the CWDM channels are multiplexed into a single transmission. Since the four channels operate at bit rates of 3.125 Gbits/sec, the transceiver can use off-the-shelf, low-cost laser diodes. Each laser is driven by an electrical signal through the XAUI interface.
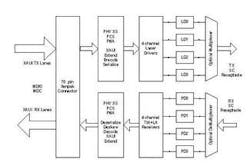
The multiplexed optical signals are launched into a MMF via a mode conditioning patch cord. Coupled with an 8B/10B coding scheme, the offset launch allows the multiplexed signals to propagate over 300 m to reach the receiver end. At the receiver end, the optical signal is de-multiplexed into four optical channels and converted into electrical signals via four photodiodes, a transimpedance amplifier (TIA), and limiting amplifiers (LAs). The amplified electrical signals are re-timed and fed into the upper networking layer via the XAUI interface as illustrated in Figure 1.
The key components inside an LX4 transceiver are the transmitter optical subassembly (TOSA) and receiver optical subassembly (ROSA). The TOSA/ROSA typically contributes a significant portion of the total transceiver cost. Therefore, reducing TOSA/ROSA cost is key to the success of the LX4.
The cost of components for 3.125 Gbits/sec is significantly lower than components for 10 Gbits/sec. However, there are four such channels in each module, and four sets of every component are needed: four laser diodes, four photodiodes, four driver ICs, and four sets of TIAs and LAs. With the advancement of IC technologies, some components can be integrated to form a single component, such as quad-TIA and LA combinations, thus reducing the cost of the ICs. Depending on how the TOSA/ROSAs are put together and the associated production yield, there could be significant cost differences from one LX4 transceiver to another.
Typically a TOSA consists of four laser diodes, a singlemode or multimode optical multiplexer, and a singlemode optical end terminated either in a single-channel receptacle or fiber pigtail. The singlemode multiplexer is traditionally the preferred choice since it enables the transport of 10GbE traffic over all fibers. Conventionally, the four laser diodes are individually packaged and form a discrete packaged component. This adds significant packaging and bare laser die costs. These additional costs include material costs such as the TO-can header, lens cap, or similar coupling optics. Other costs associated with these designs include a finite yield loss during the packaging processes. For non-TO-can packages, there are similar cost additions; these include chip carrier, coupling optics, and the cost of the outer hermetic package housing.
If the optical multiplexer is not fiber pigtailed, the optical multiplexer cost should be smaller than that of the pigtailed multiplexer. In this case, each of laser packages will be actively aligned into a mechanical structure where the multiplexing bulk optics can be completed. To multiplex into a singlemode optical fiber, the alignment tolerances are extremely tight, typically around 1~3 microns.
Typical economical manufacturing processes, such as those using epoxy, cannot be applied because of the large manufacturing variations in alignments. A more expensive manufacturing process therefore must be used. Typically, this can include laser welding to join the laser diodes with the multiplexer because laser welding exhibits a very small post-weld shift. Such alignments have to be repeated four times to completely attach all four channels.
Overall, the alignment yield will be comparatively low since the total yield is a product of the individual alignment yields. Rework in the alignment process can add substantial costs to the TOSA. Furthermore, due to the relatively long optical paths in bulk-optics multiplexers, the alignments may deteriorate over temperature and time due to the different thermal expansion coefficients between the laser diode package and multiplexer. This creates significant performance and reliability concerns over the lifetime of the product.
If the optical multiplexer is fiber-pigtailed, the multiplexer cost may be significantly higher due to the active alignments such multiplexers require. In addition, the TO-can laser or an integrated laser diode has to be fiber pigtailed, augmenting costs further. Fiber pigtails from laser diodes and the multiplexer are joined together by fiber fusion splices. Fiber management is a challenging task for transceiver manufactures. For smaller transceivers such as the X2 (Figure 2), it is extremely challenging to fit the fiber-pigtailed laser diodes and multiplexer/de-multiplexer inside the modules.
Manufacturing of the LX4 ROSA follows similar processes, although the ROSA imposes fewer challenges than the TOSA because less alignment accuracy is required.
LX4 alternatives
At the moment, cost-effective LX4 solutions are not broadly available, leaving a void in the 10GbE market. An alternative now being put forward is to transport 10GbE serially. The economic rational for this relies on the fact that such an approach would require only one 10G laser transmitter and one 10G photodiode receiver, instead of four laser diodes, a multiplexer, four photodiodes, a de-multiplexer, and four sets of ICs. Most importantly, there would be fewer complexities in the packaged TOSA/ROSA compared to that of the LX4 because there would be no alignment and assembly required to integrate the optical multiplexer and de-multiplexer.
However, to transport the 10GbE serial traffic inside the FDDI MMF over a meaningful distance imposes significant challenges for the optical industry because of the sensitivity of high bit rates to the differential mode delay (DMD) present in legacy fibers. This serial solution, known as 10GBase-LRM, needs electronic dispersion compensation (EDC) to combat DMD. Such EDC technology is not yet widely available and adds cost and power consumption. Even with EDC, the distance over which the transceiver can achieve 99 percent optical link operation is about 220 m (although the working group responsible for 10GBase-LRM recently raised its distance goal to 300 m). This distance is shorter than 300 m, the required enterprise fiber lengths. Thus, the 10G LRM solution could leave a portion of enterprise customers behind.
At this moment, the 10GBase-LRM approach still needs to prove its cost-effectiveness to potential customers. The customers will most likely not purchase such transceivers in large volumes until the LRM technologies are proven and the IEEE standards board ratifies the LRM PMD. There should be a window of at least two to years, if not more, in which an innovative LX4 approach has the opportunity to make a significant difference in serving the 10GbE market.
LX4 innovation
An innovative LX4 transceiver should take all of the unnecessary costs out of packaging and provide a cost-effective device without sacrificing performance and reliability. One way to do this is to create an LX4 module using integrated lasers and a micro-optical multiplexer and de-multiplexer.
In the TOSA section of this design, bare CWDM laser dies are placed next to an optical multiplexer with the precision to avoid large insertion loss. The laser diodes are modulated directly by four electrical signals, coming from the upper network layer via XAUI interface. This creates four-channel optical signals at a bit rate of 3.125 Gbits/sec each. The optical multiplexer integrates the four-channel optical signals directly into a singlemode optical receptacle that creates the LX4 CWDM optical signal. The TOSA enables its users to launch the multiplexed LX4 signal into either 10 km of singlemode fiber or 300 m of 62.5/50-micron MMF via a differential mode condition patch cord.
On the ROSA end, bare photodiode dies are placed next to an optical de-multiplexer. The ROSA takes all fiber types (singlemode and 62.5- and 50-micron MMF), and its de-multiplexer separates the incoming optical signals into four optical channels. These signals are channeled into four photodiodes, which convert the optical signals into electrical signals, which are subsequently fed into an IC chip. These signals are sent back to the upper networking layer via the XAUI interface.
This highly integrated TOSA/ROSA eliminates intermediate laser diode packages and photodiode packages, reducing cost and production time. In addition, there is no fiber management inside the transceiver, making the transceiver manufacturing a more efficient process. The TOSA/ROSA devices are very compact in size, capable of fitting into both XENPAK and X2 form factor 10GBase-LX4 transceivers. Furthermore, the transmitter and receiver manufacturing assemblies are fully automatic, providing more consistent manufacturing results compared to the conventional manual alignment process.
The robust design, coupled with precision and consistent automation, enable high manufacturing yields, reducing rework and manufacturing costs. Most importantly, the high-yield manufacturing processes also ensure highly reliable products due to less processing stress.
There is a significant market for transponders that carry 10GbE traffic within intra-building enterprise backbone networks. Given the increasing speed with which 100-Mbit/sec devices are being upgraded to 1000 Mbits/sec -- energized by the availability of low-cost GbE small-form-factor pluggable transceivers and the rapid deployment of XENPAK/X2 LR and ER solutions in local and metropolitan area networks -- there is a genuine urgency to fill this market void with cost-effective 10GbE transceivers for intra-building enterprise backbone networks. As the industry moves toward adopting a transceiver solution, the key drivers will be the device's cost-effectiveness and its performance and reliability. LX4 transceivers will prove to be a viable contender, leveraging its proven and standardized approach to transport 10GbE traffic over 300-m legacy fiber.


